高分红难掩增长压力!“攀西矿王”18.5亿元理财,股价不涨反跌!市场为何信心不足?
炒股就看金麒麟分析师研报,权威,专业,及时,全面,助您挖掘潜力主题机会!
来源:金融投资报
一边豪掷18.5亿元购买理财产品,一边股价应声下跌、主力资金出逃——“攀西矿王”安宁股份(002978)正在遭遇一场尴尬的“信任温差”。
3月16日,安宁股份发布公告,公司及子公司拟合计动用不超过18.5亿元闲置资金进行低风险现金管理,以提高资金使用效率,为股东创造更多收益。然而,资本市场并未报以掌声,截至3月17日收盘,其股价收报35.72元/股,下跌2.51%,总市值约为168.59亿元。

拟动用18.5亿元闲置资金进行现金管理
上述公告显示,本次现金管理计划分为两部分:拟使用不超过5.5亿元闲置募集资金和不超过13亿元闲置自有资金,投资期限自董事会审议通过之日起不超过12个月,资金在上述额度和期限内可循环滚动使用。

据安宁股份公告
为何大笔投资?安宁股份在公告中表示,为提高募集资金使用效率,合理利用闲置资金,在确保不影响生产经营和募集资金投资项目实施的前提下,公司及子公司拟使用部分暂时闲置的募集资金和自有资金进行现金管理,增厚公司收益,为公司及广大股东创造更多的投资收益。
收益又如何分配?根据公告,闲置募集资金现金管理所获收益将优先用于补足募投项目投资金额不足部分,自有资金收益则用于日常经营流动资金。公司强调,本次现金管理不会影响募投项目实施及主营业务发展,亦不存在变相改变募集资金用途的情形。
值得注意的是,这是安宁股份连续第二年实施类似现金管理计划。公司2025年3月曾获批使用不超过12亿元闲置募集资金和25亿元闲置自有资金进行现金管理,授权期内所有产品均100%兑付本金。
深陷“增收不增利”窘境
企查查显示,四川安宁铁钛股份有限公司(简称“安宁股份”)位于四川省攀枝花市米易县,于2020年上市。其作为一家专注于钒钛资源综合利用的企业,公司主营业务涉及钒钛磁铁矿的采选和加工。
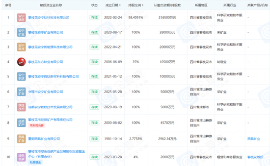
凭借手握攀枝花核心矿产资源的先天优势,安宁股份被市场冠以“攀西矿王”之称。金融投资报记者注意到,其在资本版图上亦多有布局,对外投资企业多达17家(其中3家已注销),投资触角延伸至攀枝花市经质矿产有限责任公司、攀枝花东方钛业有限公司、重钢西昌矿业有限公司等产业链上下游企业。

据企查查
然而,坐拥优质资源的“矿王”,却陷入了“增收不增利”的业绩窘境。
财报显示,2025年前三季度,公司实现营收16.07亿元,同比增长18.19%;但归母净利润仅为6.33亿元,同比下降7.28%;扣非净利润6.42亿元,同比减少6.13%。拉长时间线看,这一颓势并非偶然——2022年至2024年,公司营收分别为19.96亿元、18.56亿元、18.57亿元,整体呈下降趋势;归母净利润更是从10.95亿元一路下滑至9.36亿元、8.52亿元,连续三年负增长。
不难窥见的是,在上游成本与下游市场价格的双重挤压下,安宁股份的利润增速已连续多年未能跑赢营收。
值得一提的是,安宁股份业绩虽显惨淡,分红却毫不手软。据记者不完全统计,2022年至2024年,公司派发现金红利分别为4.41亿元、4.01亿元、4.36亿元,分红率分别高达40.29%、42.77%、51.15%,堪称A股市场的“分红大户”。
一边是大手笔理财与高额分红,一边是股价下跌与业绩下滑。业内热议:手握重金却迟迟未能转化为增长动能的“攀西矿王”,其转型之路令人关注。
相关文章

最新评论