市场化售电暴涨88.93%!这家遂宁百年传统电企,藏着怎样的“机”与“危”?
炒股就看金麒麟分析师研报,权威,专业,及时,全面,助您挖掘潜力主题机会!
88.93%!这是四川明星电力股份有限公司(公司简称:明星电力 股票代码:600101)2025年市场化售电业务的营收增速。
在传统水电业务增长乏力的当下,这份“年度成绩单”格外亮眼。作为一家扎根遂宁的老牌电企,明星电力正在告别“靠天吃饭”的单一水电模式,向综合能源服务商全速转型。然而,年报也同时敲响警钟:2026年,非其所属的唐家渡电站投运,将直接冲击自有发电量,且带来的影响具有持续性。
财报数据透露“机”与“危”
3月26日,明星电力发布2025年度报告。数据显示,2025年公司营业收入30.21亿元,同比增长6.29%;归母净利润1.84亿元,同比下降12.02%;基本每股收益0.3361元。公司拟每股派发现金红利0.07元(含税)。
在营收方面,分业务来看,电力生产和供应业务贡献营业收入25.73亿元,同比增长2.10%,占总营收的85.17%,仍是公司营收的核心来源;建筑施工业务营收3.38亿元,同比增长22.28%;市场化售电服务营收4106.26万元,同比大增88.93%,成为营收增长的重要补充。
显然,暴涨的“新业务”成为这份上百页年报中最大的亮点。然而,年报中的另一组数据同样值得警惕:2025年公司经营活动现金流净额为2.2亿元,同比下降32.39%。
金融投资报记者注意到,摆在这家地方能源龙头的面前的,还有一个十分严峻的现实问题:
年报显示,作为区域电力公共服务企业,明星电力在遂宁市本级、船山区、安居区供电市场占有率保持100%,拥有网内自有水力发电装机容量11.558万千瓦,多年平均上网电量约5.5亿千瓦时,全部实现自发自销,在同行业中具备显著的资源优势与运营稳定性。
但值得一提的是,2026年,非明星电力所属的唐家渡电站将投产运行,同时,三星船闸工程计划实施。受上述事项共同影响,预计明星电力下属4座发电站当年发电量将一定程度下降,其中唐家渡电站投运带来的影响具有持续性。

据明星电力年报
记者从遂宁市水利局官方微信号获悉,唐家渡电航工程是一座具有城市生态环境改善和建设、防洪、发电和航运等综合利用的电航工程。水库正常蓄水位285.5米,总库容9880万立方米,电站装机容量装机容量4.2万千瓦,项目总投资40.42亿元,其中移民投资11.72亿元。项目建成后将扩宽观音湖水域面积至30平方公里,对改善遂宁城市生态环境和人居环境具有重大意义。

唐家渡电航工程示意图。 据遂宁市水利局官方微信号
老牌电企寻找突围方向
明星电力官网显示,公司源于1926年官绅合办的明星电灯公司,1959年建成遂宁县龙凤水电站,1962年8月成立遂宁县龙凤水电厂,1988年3月经四川省人民政府批准进行股份制试点,1988年4月注册成立遂宁电力股份有限公司,注册地为四川省遂宁市。1993年2月更名为四川明星电力股份有限公司。1997年6月27日,经中国证监会批准,在上海证券交易所上市流通。
这家已有百年历史的老牌电企,正试图在传统主业之外寻找新的突围方向。
金融投资报记者注意到,作为一家主营传统电力业务的企业,明星电力在其官网首页,却用不小的篇幅来描绘“其他产业”的版图。
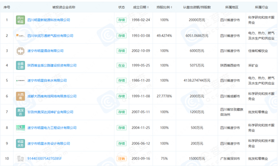
企查查显示,其对外投资多达23家企业,其中9家存续。四川明星新能源科技有限公司、四川华润万通燃气股份有限公司、遂宁市明星酒店有限公司、陕西省金盾公路建设投资有限公司、遂宁市明星自来水有限公司等均有一定的持股比例。

据企查查
截至3月27日收盘,明星电力微涨1.2%,报10.95元/股,总市值逼近60亿元。

| 金融投资报记者 贺梦璐|
相关文章

最新评论