净利大增42.5%,突破30亿!银行系公募工银瑞信基金,交出一份“逆天”成绩单
专题:2025基金年报季启幕:AI算力冲高、有色金属回落,2026如何布局?
随着2025年上市公司年报的密集披露,公募基金行业的年度“成绩单”逐渐浮出水面。在已公布数据的机构中,银行系公募龙头工银瑞信基金交出了一份亮眼的答卷。
根据工商银行最新披露的2025年年度报告,截至2025年末,工银瑞信全年实现净利润30.07亿元,同比增幅高达42.5%。在目前已披露数据的基金公司中,工银瑞信稳坐头把交椅。
要知道,2025年公募行业并不太平——市场波动、费率改革、竞争加剧……在这样的大环境下,能稳住就不错了,而工银瑞信却交出了一份增长超四成的成绩单,属实有点“逆天”。
业绩增长的背后,是管理规模的持续扩张。数据显示,工银瑞信的规模从2023年一季度的7552.7亿元稳步攀升,去年更是明显加速。到2025年四季度末,管理规模已经逼近9100亿元大关,达到约9067.2亿元,行业排名稳居第13位。

资产配置方面,固收类资产依然是公司的“压舱石”。债券型基金规模2577.58亿元,货币市场型基金更是高达4221.23亿元,两者加起来占了总规模的75%。这既是公司最稳健的利润来源,也符合银行系公募“稳健经营”的基因。
但工银瑞信显然不满足于只做固收。股票型基金规模1172.56亿元,显示出在主动权益上的持续发力。
尤其值得一提的是ETF业务。公司目前拥有47只ETF产品,规模合计885.94亿元。面对被动投资崛起的浪潮,工银瑞信果断上车——仅去年二、三季度之间,ETF规模就猛增了317亿元。


在公募业务之外,养老金业务亦是工银瑞信的重要业务板块。截至2025年末,公司养老金投资管理总规模已突破1.2万亿元,业务覆盖社保、企业年金及个人养老金三大领域。
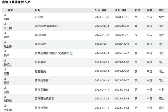
在管理架构上,工银瑞信近期经历了一次系统性的“换血”,彰显出公司对治理结构优化和战略转型的迫切需求。2025年11月,杨帆出任总经理,接棒核心管理职责;同期,许长勇和张桦也分别出任副总经理,核心管理层的更迭为公司注入了新鲜血液。

从投研团队来看,数据显示公司拥有86名基金经理,人均管理资产规模高达105.75亿元,远超行业平均水平。这意味着每一位基金经理都在“负重前行”,对投研协作能力和风控体系提出了极高要求。
近一年来,公司新聘基金经理11名,同时也有4人离任。人才梯队处于动态调整中,优化与流失并存。

从股东背景来看,工银瑞信依然保持着“中资+外资”的稳固架构:工商银行持股80%,瑞士联合银行集团(UBS)持股20%。
总体来看,工银瑞信2025年的成绩单可以用两个字概括:能打。
近9100亿的规模、30亿的净利润、42.5%的增速、1.2万亿的养老金……每一个数字都在说明一件事:这家银行系公募,正在用实力证明自己。
但挑战也同样存在。固收占比过高,意味着利润空间有限;权益和指数业务虽然增长迅猛,但体量尚不足以撑起更大的想象空间。
作为银行系公募,工银瑞信既有母行撑腰的底气,也面临着市场化竞争中转型提效的压力。下一步,如何在巩固固收基本盘的同时,把权益和指数业务真正做起来,将是决定其能否在行业分化中继续领跑的关键。
相关文章

最新评论