奇瑞公布车辆水中航行姿态调节专利 可提升航行速度与驾驶安全性
时评
2026年03月04日 15:20 21
qhradio.com
天眼查知识产权信息显示,近日,奇瑞汽车股份有限公司申请的“车辆水中航行姿态调节系统及车辆”专利公布。
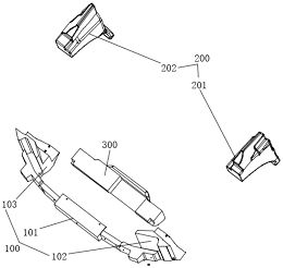
摘要显示,本申请的车辆水中航行姿态调节系统,包括:防撞梁浮体总成,防撞梁浮体总成设置在车辆前防撞梁上;翼子板浮体总成,翼子板浮体总成设置在车辆翼子板内部、车身钣金和挡泥板组成的空间区域内,翼子板浮体总成提供浮力部分在车辆浮水线以上,以为车辆提供浮力储备;底护板上部浮体总成,底护板上部浮体总成设置在车辆底护板上部与车辆副车架组成的空间区域内。本申请实施例的车辆水中航行姿态调节系统,通过在车辆前部设置多组浮体总成,可有效减小车辆在水中的艏倾角度,从而提升航行速度与驾驶安全性。


相关文章

最新评论