八年未减持终结,好太太侯鹏德套现2.74亿,总经理周亮、董秘李翔等多位高管减持 | 长三角资本局
文|新浪财经上海站 十里
在A股公司中,长期不减持往往意味着一种隐性的“共识”。而当这种共识被打破,变化往往不会只停留在股东层面。

2026年3月17日,好太太一则减持公告,将这种转折集中呈现。持股4.72%的股东侯鹏德计划在4月9日至7月8日期间减持不超过1207.2万股,按公告前股价测算,对应套现金额约2亿元。这已是其第二次减持。

时间回溯到2025年9月至10月,侯鹏德完成了首次减持,累计卖出350万股,套现约7448万元。
若叠加本轮减持,其累计套现金额将达到约2.74亿元。这意味着,这位IPO前入场的老股东,在短短半年时间内完成了从“长期持有”到“连续兑现”的转变。相比单次减持,更值得关注的是节奏的变化。
2017年上市至2024年,公开信息显示,好太太没有披露过高管减持记录,而侯鹏德本人也直到2025年才开启首次减持。

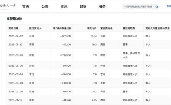
据巨潮网显示,从八年未动,到两次连续减持,这种时间上的断裂,使得此次动作不再只是简单的资金安排。变化也不止于一人。自2025年以来,公司核心管理层开始同步出现减持行为。总经理周亮、副总经理肖娟、财务总监孙政以及董事会秘书李翔均陆续减持股份。

其中,2025年6月,孙政、李翔分别减持5万股和4万股;同月,周亮、肖娟亦开始第二次减持,分别减持20万股和15万股。进入2026年1月,两人再次披露第三次减持计划。
从节奏上看,这更像是一轮由核心班子共同参与的“退出窗口”,而非个别行为。

减持节奏的变化,与公司基本面的波动几乎同步出现。2025年前三季度,好太太实现营业收入10.59亿元,同比微降;归母净利润1.43亿元,同比下滑24.79%;扣非净利润下滑幅度扩大至26.59%。在利润端承压的同时,公司经营现金流一度出现净流出,投资活动现金流持续为负,资金更多流向理财投资,期末现金余额有所下降。
如果将视角从财务延伸至终端,另一种变化也在发生。在线下渠道,销售人员对线上产品的区隔表达得更为直接,材质差异带来的价格分层开始影响品牌认知;与此同时,消费者端关于产品质量与售后问题的反馈不断累积。叠加4月线下产品提价预期,价格、品质与服务三者之间的张力正在放大。
当这些线索被放在同一时间轴上,逻辑开始变得清晰:股东与高管从长期不减持转向密集减持,业绩与现金流承压,终端口碑出现波动,这些变化几乎同时发生。
对于好太太而言,过去依赖渠道与品牌构建的稳定结构,正在经历一次集中的检验。而当“八年不动”的共识被打破之后,市场更关注的,已不再是一次减持本身,而是这一轮变化究竟意味着什么阶段的结束。
相关文章

最新评论